Строительный блокнот  Introduction to electronics 

1 2 3 4 5 6 7 8 9 10 11 12 13 14 15 16 17 18 19 20 21 22 23 24 25 26 27 28 29 30 31 32 33 34 35 36 37 38 39 40 41 42 43 44 45 46 47 48 49 50 51 52 53 54 55 56 57 58 59 60 61 62 63 64 65 66 67 68 69 70 71 72 73 74 75 76 77 78 79 80 81 82 83 84 85 86 87 88 89 90 91 92 93 94 95 96 97 98 99 100 101 102 103 104 105 106 107 108 109 110 111 112 113 114 115 116 117 118 119 120 121 122 123 124 125 126 127 128 129 130 131 132 133 134 135 136 137 138 139 140 141 142 143 144 145 146 147 148 149 150 151 152 153 154 155 156 157 158 159 160 161 162 163 164 165 166 167 168 169 170 171 172 173 174 175 176 177 178 179 180 181 182 183 184 185 186 187 188 189 190 191 192 193 194 195 196 197 198 199 200 201 202 203 204 205 206 207 208 209 210 211 [ 212 ] 213 214 215 216 217 218 219 220 221 222 223 224 225 226 227 228 229 230 231 232 233 234 235 236 237 238 239 240 241 242 243 244 245 246 247 248 249 250 251 252 253 254 255 256 257 258 259 260 261 262 263 264 265 266 267 268 269 270 271 272 273 274 275 276 277 278 279 280 281 282 283 284 285 286 287 288 289 290 291 292 293 294 295 296 297 298 299 300


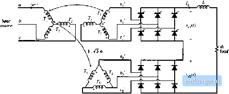
Fig, 17,31 Tvvelve-pulse rectifier circuit, with one controlled and one uncontmlled bridge, Problem

17.7.

(c) Derive an expression for Itie dc componeDl of [tie output voltage, as a function of the rms line-line inpLLt voltage, the delay angle Ct, and lhe lurns ratio u.

<d) Over what range of a Is your expression of pan (c) valid? What ouipui voltages can be produced by this rectifier?

ПЯ For the twelve-pulse rectifier circuii of Fig. 17.27(a), determine the Fourier coefficients, for the funda-

mental through the thirteenth harmonic, of the primary-sidecurrents l (t) and tgj(). as well as for the ac line ctirrent ) (() Express your results in terms of the turns ratio n and the dc load cnrrent 1. You may assume that the dt filler inductance L is large and that the transformers are ideal.

17.9 The single-phase controlled-hridge rectifier tjf Fig. 17.32 operates in the ctmtinuous ctrnductitm mode. It

is desired lo regulate the luad voltage v(l) in the presence of slow variations in the amplitude of the sinusoidal input voltage c((). Hence, a controller musl be designed that varies the delay angle a such that v(t) is kept constant, and it is of interest to derive a small-signal at model for the dt side of the rectifier circnit.

()

(f) с ±z уО) 4 *

dc load

Fig. 17.32 Single-phase controlled rectilier. Problem 17.9.

(a) Skelch Vj(0 and v{t), and label the delay angle a.

(b) Use the circuii averaging method to determine the small-signal transfer functions

a(i)

control-to-output transfer function



line-to-oulput transfer function

vis)

as well as the steady-state relationship

Vj-(V..A)

where

a{0 = A + a(t)

v(t)=V + t(l)

v,{t)[v,+v{i)) sin m

You may assume that the frequencies of the variations in Ci, v, and are much slower that the ac line frequency tu, and that the inductor current ripple is small.



This page intentionally left blank



1 2 3 4 5 6 7 8 9 10 11 12 13 14 15 16 17 18 19 20 21 22 23 24 25 26 27 28 29 30 31 32 33 34 35 36 37 38 39 40 41 42 43 44 45 46 47 48 49 50 51 52 53 54 55 56 57 58 59 60 61 62 63 64 65 66 67 68 69 70 71 72 73 74 75 76 77 78 79 80 81 82 83 84 85 86 87 88 89 90 91 92 93 94 95 96 97 98 99 100 101 102 103 104 105 106 107 108 109 110 111 112 113 114 115 116 117 118 119 120 121 122 123 124 125 126 127 128 129 130 131 132 133 134 135 136 137 138 139 140 141 142 143 144 145 146 147 148 149 150 151 152 153 154 155 156 157 158 159 160 161 162 163 164 165 166 167 168 169 170 171 172 173 174 175 176 177 178 179 180 181 182 183 184 185 186 187 188 189 190 191 192 193 194 195 196 197 198 199 200 201 202 203 204 205 206 207 208 209 210 211 [ 212 ] 213 214 215 216 217 218 219 220 221 222 223 224 225 226 227 228 229 230 231 232 233 234 235 236 237 238 239 240 241 242 243 244 245 246 247 248 249 250 251 252 253 254 255 256 257 258 259 260 261 262 263 264 265 266 267 268 269 270 271 272 273 274 275 276 277 278 279 280 281 282 283 284 285 286 287 288 289 290 291 292 293 294 295 296 297 298 299 300